山東江泰建材科技有限公司
聯系人:馮總,武經理
電話:18678858906,15318820518
郵箱:shandongjiangtai@163.com
地址:濟南市天橋區濟南新材料產業園區舜興路988號
混凝土是目前世界上用途最廣、用量最大的建筑材料,隨著城市化進程的加快商品混凝土得到了迅速的推廣和應用,很多建筑工地的面貌經過使用商品混凝土得到了很大的改觀。隨著預拌混凝土的廣泛使用,預拌混凝土攪拌站如何做好環保工作,成為環境保護工作的一項重要任務。下面從傳統攪拌站存在的問題出發,提出混凝土攪拌站做好環保工作以及相應的改進措施。
傳統混凝土攪拌站存在的主要污染
一、粉塵
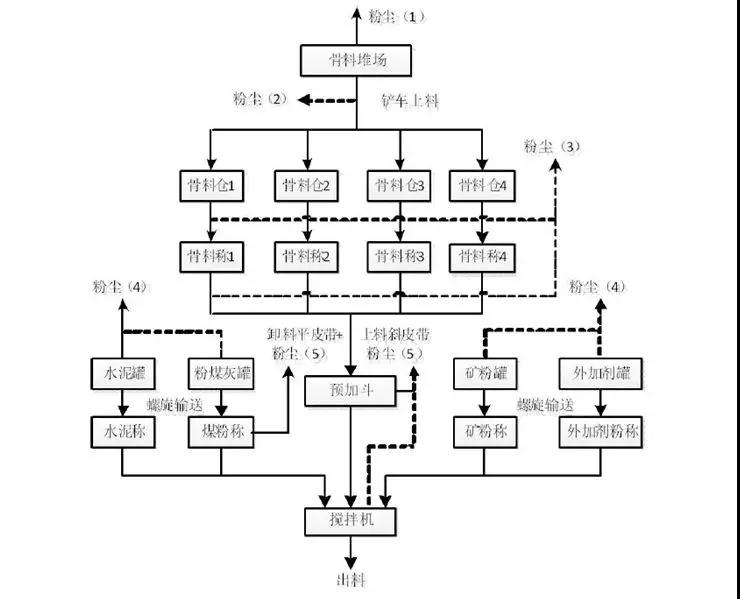
混凝土生產過程中主要粉塵分布及形成如下圖所示:

混凝土生產過程中主要揚塵分布情況
1、主要是砂石料運輸裝卸車及自然堆放風吹引起的粉塵;
2、主要是鏟車上料過程中撒漏、碾壓造成;
3、成因是骨料倉漏料到骨料稱,而后卸料到平皮帶經由斜皮帶提升過程中產生的大量無組織不定向粉塵;
4、是泵送各類粉料或其他方式上料以及粉料罐卸料引起罐體內粉料運動在罐頂產生的各種粉塵。
5、是各種粉料經過稱量后進入攪拌機和骨料經過斜皮帶提升進入預加斗再進入攪拌機過程中產生的大量粉塵混合物。

二、廢水、廢渣
廢水來源主要有兩點:一是清洗混凝土罐車及攪拌機產生的廢水,此部分廢水量大且濃度高,通常含有砂石、粉料混合物、外加劑等不溶物且固含量不穩定;二是沖洗廠區及進出廠區的大型車輛產生的廢水,這部分廢水相對成分簡單且穩定。廢渣來源主要是清洗混凝土罐車及攪拌機后的混合物經過分離后產生的混合物,成分主要是砂石。

三、噪音
第一類是固定噪音:空壓機、帶式輸送機、布料機、通風機、除塵機,攪拌機鉸刀等廠區機械噪音。
第二類是流動噪音:砂石料裝載機、粉料和骨料運輸車、混凝土罐車等。
應對措施及改進方案
由于粉塵類污染伴隨混凝土生產的整個環節,對環境的影響最為直觀且迅速,對此應從整個環節出發,環環相扣,減弱或消除產生粉塵的隱患
1、廠區加裝自動洗車機:進出廠的混凝土罐車、粉狀物料運輸車、砂石料車都應該經過自動洗車機,實現自動清洗,防止粉塵帶出帶入廠內。
2、全封閉式料場并加裝自動噴淋系統:砂石料場是攪拌站產生粉塵較多的地方,砂石料卸車等過程都能產生大量粉塵。碎石粉塵含量高,在儲存及運送過程中較易產生揚塵,砂料(特別是機制砂)中石粉含量更高,在商品混凝土攪拌站骨料儲存料場上引入全封閉式骨料場,墻體采用新型建材空心磚,不僅能使骨料卸料時的粉塵不排放到周邊環境中,同時也能有效地降低工程車輛的噪聲污染。再次應當在料場進出口及骨料倉等位置設置自動噴淋系統,防止進出料場的車輛帶入帶出粉塵以及卸料過程中產生的揚塵,進一步降低粉塵濃度。料倉上部也應當設置噴淋設施,防止生產上料時產生的粉塵。

3、場地硬化:廠區整體(綠化區域除外)應進行硬化處理,既能保證原材料的質量,又能減少因場地裸露風吹引起的揚塵。
4、全封閉式攪拌樓:骨料應采取全封閉式輸送方式,對于預加斗與斜皮帶接口處的大量粉塵應設置專用除塵設備,集中處理收集后送入攪拌機再利用。再次粉料倉也應是全封閉式結構,對于因料倉不同的進料及下料方式引起的粉料在罐體內部運動形成的粉塵采用不同的除塵設備及方法將其回收再利用。
5、投料工藝研究:對于砂、石、水泥、水等物料的投料時序以及交叉投料方式進行試驗研究,得出一套最佳的投料工藝方案,有效地減低粉塵排放。
廢水及廢渣相較于粉塵對環境的影響更為持久和隱蔽,我們更應加強對廢水廢渣的管控,關于廢水廢渣回收利用的方案如下:
1、混凝土攪拌站應安裝砂石分離機和配套的壓濾機。首先,剩的混凝土經砂石分離機分離以后砂子、石子可以直接再次利用。其次,分離出的粉料漿體經過壓濾機可以直接壓成塊狀。最后,沉淀后的廢水經過水循環裝置,可以用于循環使用,不產生任何廢水和廢渣污染。
2、洗車泵抽取經過澄清的回收水,通過洗車注水管注入攪拌車做洗車用水。洗完后的污水及殘渣排入泄料槽,借助料槽沖洗水泵抽取攪拌池的污水形成的高速流動水流進入砂石污水回收分級機。砂與石被分級機從污水中分離出來,可重新成為攪拌混凝土的原材料,而污水通過排水槽回到攪拌池。
3、攪拌池的攪拌器周期性轉動,使污水保持均勻不沉淀,通過泥漿泵抽到攪拌樓上的暫存槽里。暫存槽出水口的電磁閥根據主機發出的信號閉合或開啟向水計量秤注水,作為攪拌混凝土的材料回到混凝土里。
噪聲控制
噪音污染不僅對廠區職工的身心造成巨大傷害,更影響周邊群眾的正常生產生活,因此我們應在以下幾個方面做好防范措施:

1、整個站的封閉:整個攪拌站全部封裝,主機的封裝材料采用隔音板,封閉料場采用空心磚進行隔音等都可將噪音降低到最低程度;
2、采用新型攪拌主機:攪拌站的噪聲源主要來自攪拌主機,新型攪拌主機采用提高罐體的制造精度、采用新型減速機和傳動系統的可有效地減低噪聲。
3、氣路減噪:攪拌站中大量使用氣缸作執行元件,至行程尾部時沖擊大,噪聲高,可引入氣液結合緩沖氣缸,至行程尾部時液壓緩沖,降低噪聲。
4、廠區綠化:廠區內辦公區、生活區應進行合理綠植,品種應選擇能抑塵降噪的灌木及喬木類品種,廠區四周也應種植樹木降低噪聲傳播。

建立健全環保制度
首先應組織全廠職工積極學習環保方面法律法規及相關案例,從我做起,從點滴做起,牢固樹立起環境保護刻不容緩的思想認識。
再次編寫出臺環保管理制度以及重污染天氣應急預案等企業相關制度和規范,加強綠色環保生產管理的力度,快速地推動綠色環保生產進程,使綠色環保生產的目的和要求滲透到混凝土生產的各項管理工作中。同時應當選派專人負責廠區內環保工作的相關事宜,做到及時反饋、快速響應、狠抓落實、能打硬仗的工作態度和行動。
最后,應加強與當地環保部門及相關部門的交流學習,提升專業技能知識,不斷升級改造現有設備及工藝,打好這場持久戰,為祖國增添更多藍天。
隨著國家控制環境污染的力度不斷加大,人們的環保意識不斷增強,混凝土攪拌站做好環保工作是今后混凝土攪拌站可持續發展的重要方面。混凝土攪拌站應積極響應國家環保的號召,積極做好混凝土生產的環保工作,引領混凝土行業向節約環保型企業發展。
本文資源來自《 混凝土信息網》,旨在交流信息分享技術,如有侵權,請及時聯系,我們將在第一時間予以刪除處理。
上一篇:混凝土的分類知識